
INCH-POUND
AN510 REV 7
2 JUNE 2011
SUPERSEDING
AN510 REV 6
30 JUNE 1994
DETAIL SPECIFICATION SHEET
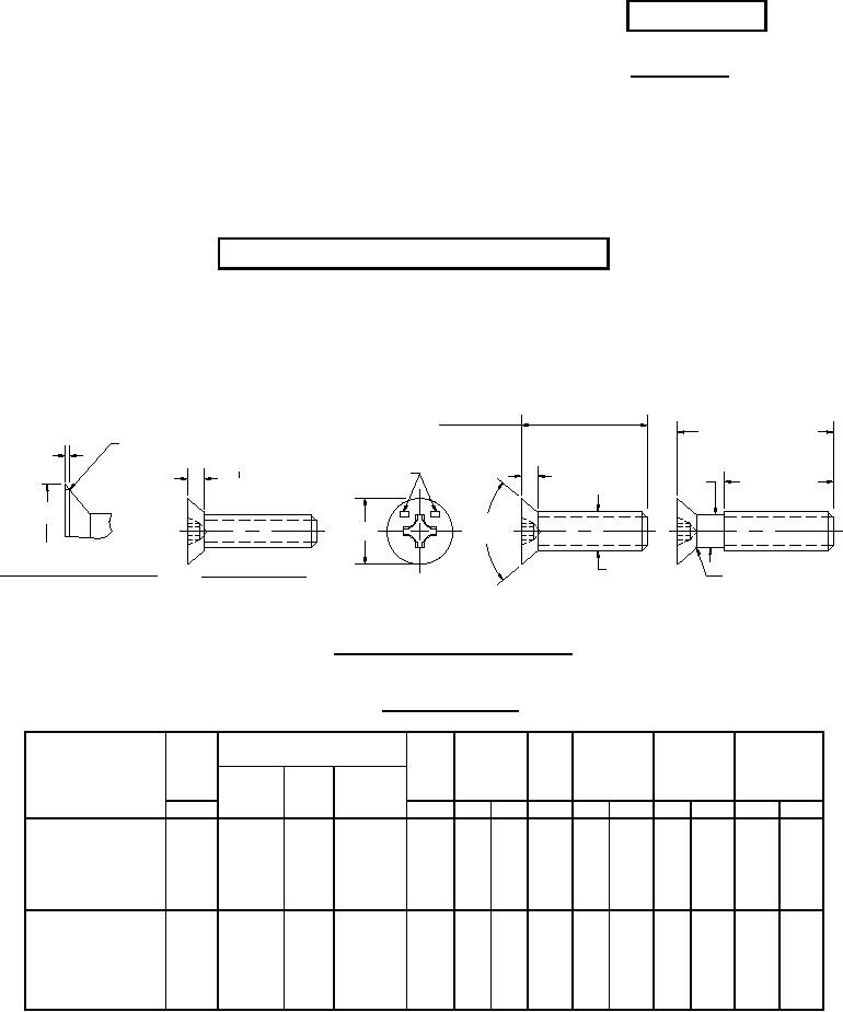
SCREW, MACHINE, FLAT HEAD, 82 DEGREE, FINE THREAD
Inactive for new design after 2 June 2011.
This specification sheet is approved for use by all Departments and Agencies of the
Department of Defense.
The requirements for acquiring the product described herein shall consist of this
specification sheet and procurement specification FF-S-92.
LENGTH
(c) LENGTH
EDGES OF HEAD MAY
(OVER 2.000 IN.)
(2.000 IN. AND UNDER)
BE ROUNDED
F
(a)
H
H
(b)
1.750 IN.
MIN
ØD
80°
ØD
82°
ENLARGED VIEW OF HEAD
ØA
UNDERCUT HEAD
RAD R
(d)
FIGURE I. Crossed-Recessed Head Screw..
TABLE 1. Screw Dimensions.
H1
A
D
R
J
K
F
H
THREAD
RAD
REF
SIZE
ABSOLUTE
MAX
MIN
MIN WITH
MAX
SHARP
SHARP
MAX F
MAX
MAX
MIN
MAX
MAX
MIN
MAX
MIN
MAX
MIN
NO.
0-80 UNF-2A
.060
.119
.105
.101
.011
.035
.026
.025
.025
.018
.024
.016
.015
.010
NO.
1-72 UNF-2A
.073
.146
.130
.126
.013
.043
.033
.030
.030
.023
.026
.019
.019
.012
NO.
2-64 UNF-2A
.086
.172
.156
.150
.014
.051
.040
.030
.036
.026
.031
.023
.023
.015
NO.
3-56 UNF-2A
.099
.199
.181
.175
.015
.059
.048
.035
.041
.034
.035
.027
.027
.017
NO.
4-48 UNF-2A
.112
.225
.207
.200
.016
.067
.055
.040
.047
.039
.039
.031
.030
.020
NO. 5-44 UNF-2A
.125
.252
.232
.225
.018
.075
.062
.045
.053
.043
.043
.035
.034
.022
NO. 6-40 UNF-2A
.138
.279
.257
.249
.019
.083
.069
.050
.058
.048
.048
.039
.038
.024
NO. 8-36 UNF-2A
.164
.332
.308
.300
.022
.100
.084
.055
.070
.059
.054
.045
.045
.029
NO. 10-32 UNF-2A
.190
.385
.359
.348
.025
.116
.098
.060
.081
.069
.060
.050
.053
.034
1/4-28 UNF-2A
.250
.507
.477
.462
.031
.153
.131
.070
.107
.092
.075
.064
.070
.046
(a)
SEE REQUIREMENT 10
(b)
SEE REQUIREMENT 6
(c)
SEE REQUIREMENT 5
(d)
SEE REQUIREMENT 7
AMSC N/A
FSC 5305
For Parts Inquires call Parts Hangar, Inc (727) 493-0744
© Copyright 2015 Integrated Publishing, Inc.
A Service Disabled Veteran Owned Small Business